Stellantis is looking to patent heated wheel wells to keep snow and ice from building up during winter driving.

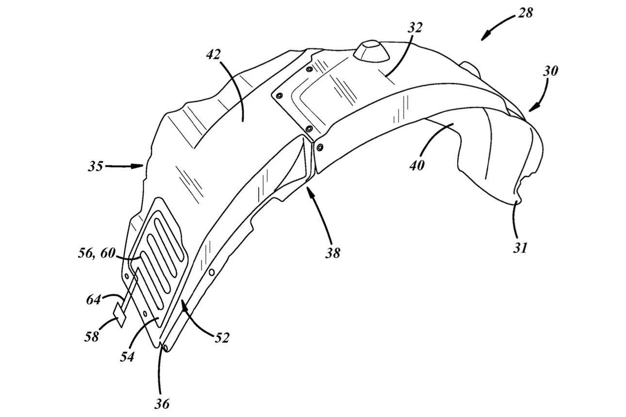
This feature is described in a patent application published by the United States Patent and Trademark Office (USPTO) Oct. 31, 2024, but filed by Stellantis Apr. 25, 2023. As described in the filing, it would rely on an electric heating element embedded in the wheel well, with a wire or other connection to supply power from the vehicle.

Stellantis heated wheel well patent image

Stellantis heated wheel well patent image

The heating element would be sandwiched between the vehicle’s body and a wheel-well liner, the latter being exposed to the elements to protect the heating element and its wiring. Heat would still be able to soak through the wheel-well liner to melt ice and snow, according to Stellantis.

The automaker also addressed a conductive film for the heating element, which could be applied directly to a given surface, noting that it may be better suited to use in electric vehicles and plug-in hybrids, which draw power for wheel-well heating from their high voltage battery packs.

Stellantis heated wheel well patent image

Stellantis heated wheel well patent image

As Stellantis notes in the application, snow and ice can build up and form large chunks. These can break off unexpectedly and create an unpleasant surprise for following drivers, or cover cameras and sensors used for driver-assist systems, as well as impair deployable side steps—like the ones available on Stellantis’ Ram pickup trucks.

Not all patented ideas reach production, but this could be a fairly straightforward yet practical feature, not unlike the deployable front-seat tables Stellantis also tried to patent recently.



Source link

Leave a Reply

Your email address will not be published. Required fields are marked *